失联的河南前首富朱文臣找到了怎么回事_朱文臣现状如何
作者:佚名 来源:@@@ 发布时间:2023-05-30 18:02:56
5月30日,辅仁药业证券事务部工作人员表示,实控人朱文臣在经过“失联”风波后,公司已于5月22日联系到朱文臣,并接到朱文臣本人通知,于当日签收了中国证监会的《立案告知书》。
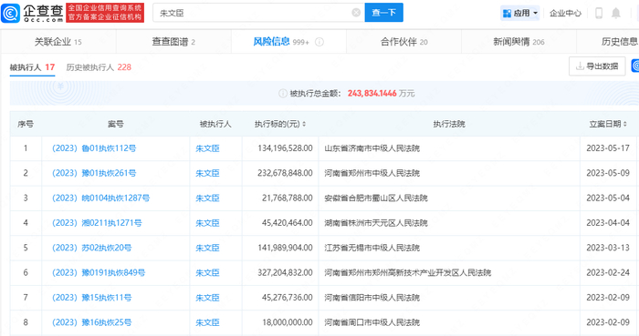
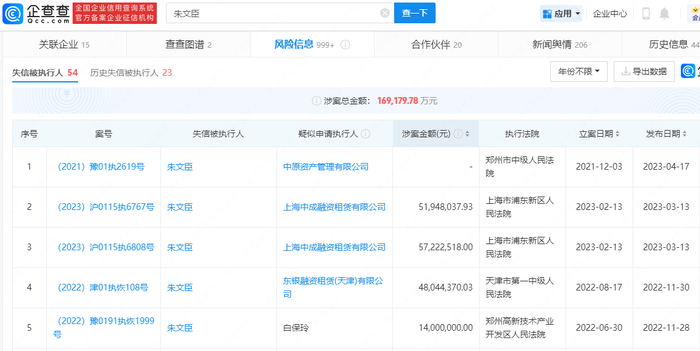
企查查APP显示,朱文臣目前关联多条风险信息:存在17条被执行人信息,被执行总金额超24.38亿元,失信被执行人(老赖)信息54条,其被限制高消费703次。此外,朱文臣因存在涉嫌违反证券法律法规、未及时披露公司重大事件等违规行为,多次遭到证监会处罚。




- 相关阅读
阅读排行榜
- 1杨舒平个人资料照片被人肉 杨舒平演讲辱华视频...
- 2濑亚美莉步兵封面番号2017 濑亚美莉资料英文名...
- 3王语纯露两点成都5分钟视频 王雨纯推女郎43无...
- 4恋夜秀场直播大厅免费进入 恋夜秀场一站、二站...
- 5教师白洁有声小说叶倩彤版mp3音频全集百度云
- 6向井蓝18才ed2k 向井蓝作品番号合集torrent种...
- 7冲田杏梨ed2k引退原因 冲田杏梨个人资料作品番...
- 8Ellie艾栗栗个人资料三围 推女郎69期艾栗栗无...
- 9树花凛ed2k重口作品番号 树花凛最精彩作品都有...
- 10闫盼盼2.78g百度云资源 闫盼盼无圣光写真 闫盼...
- 11白裙少女地铁跳蛋门视频 任务露一次2万
- 12田熙玥ugirls无圣光照片 尤果网推女郎田熙玥胸...
- 13易阳无圣光原名易秀慧泄漏视频 推女郎易阳个人...
- 14阿朱无圣光被批低俗 模特阿朱不在意拍大尺度合...
- 155元以下饮料为什么越来越少_饮料涨价原因揭秘...

晋公网安备 14080202000143号